


凤凰网山东(报料微博@凤凰网山东)日前获悉,11月18日,国家金融监督管理总局山东监管局发布行政处罚决定书(德金罚决字〔2024〕19号),德州银行股份有限公司代为履职人员超期履职,严重违反审慎经营规则。国家金融监督管理总局德州监管分局依据《中华人民共和国银行业监督管理法》第二十一条、第四十六条及相关审慎经营规则,对德州银行股份有限公司罚款50万元,处罚决定的日期为2024年11月11日。

公开资料显示,德州银行股份有限公司(曾用名:德州市商业银行股份有限公司),成立于2004年,山东国投成员,位于山东省德州市,是一家以从事货币金融服务为主的企业。主要经营范围包括,金融许可证范围经中国银行业监督管理委员会依照有关法律、行政法规和其他规定批准的业务,经营范围以批准文件所列为准,基金销售。

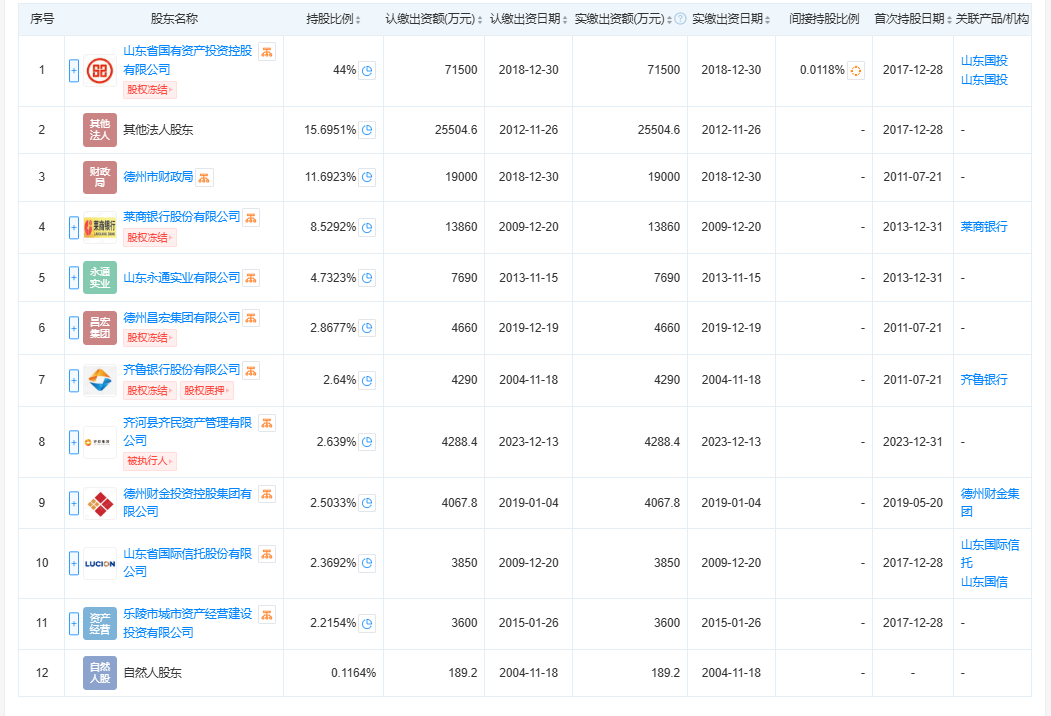
山东省国有资产投资控股有限公司系德州银行股份有限公司最大股东,持股比例44%。
(凤凰网山东 云平)