


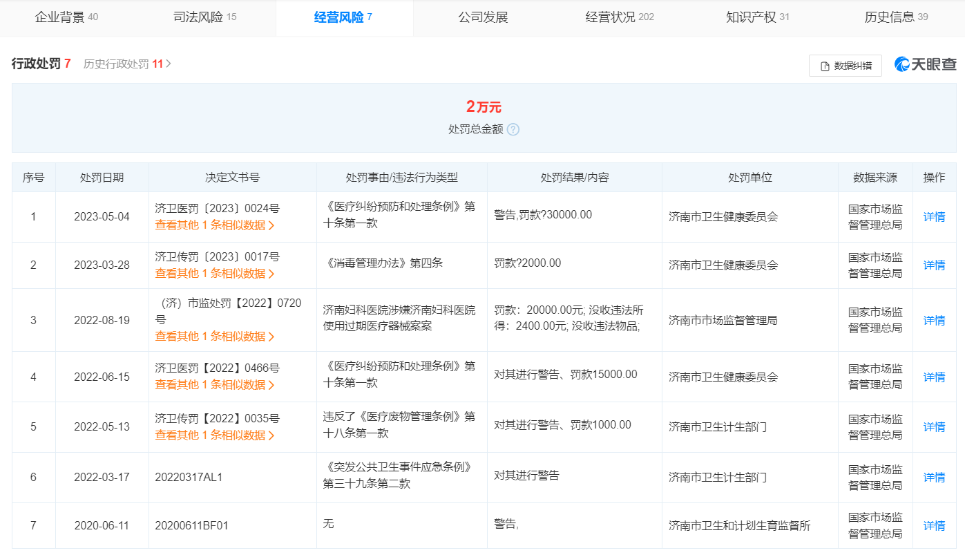
凤凰网山东(报料微博@凤凰网山东)从济南市行政许可和行政处罚信用信息公示专栏获悉,济南妇科医院未按规定实施医疗质量安全管理制度被罚30000.00元。处罚决定日期为2023年5月4日。

行政处罚决定书(济卫医罚〔2023〕0024号)显示,济南妇科医院未按规定实施医疗质量安全管理制度,违反了《医疗纠纷预防和处理条例》第十条第一款的规定,依据《医疗纠纷预防和处理条例》第四十七条(一)的规定予以警告及30000.00元罚款的处罚。处罚机关为济南市卫生健康委员会。
天眼查信息显示,济南妇科医院,成立于2009年,位于山东省济南市,是一家以从事卫生为主的企业。经营范围包括生活美容服务、医疗服务、医疗美容服务、母婴保健技术服务、诊所服务、中药饮片代煎服务及中医诊所服务。

据天眼查经营风险一栏显示,济南妇科医院历史行政处罚超过十条,自2022年3月至今,因不同处罚事由或违法行为被行政处罚达6条之多。
(凤凰网山东 贾明亮)
