


10月14日,山东如意科技集团有限公司(002193.SZ)(以下简称“如意集团”)发布公告称,公司收到中国证监会下发的《立案告知书》,因涉嫌信息披露违法违规,被正式立案调查。
如意集团并非首次遭遇监管问责。近两年来,集团及其相关当事人已因信披违规问题,被山东证监局行政处罚一次、采取行政监管措施三次。

违规行为屡禁不止
根据如意集团2025年10月14日发布的公告,公司因涉嫌信息披露违法违规,被证监会立案调查。
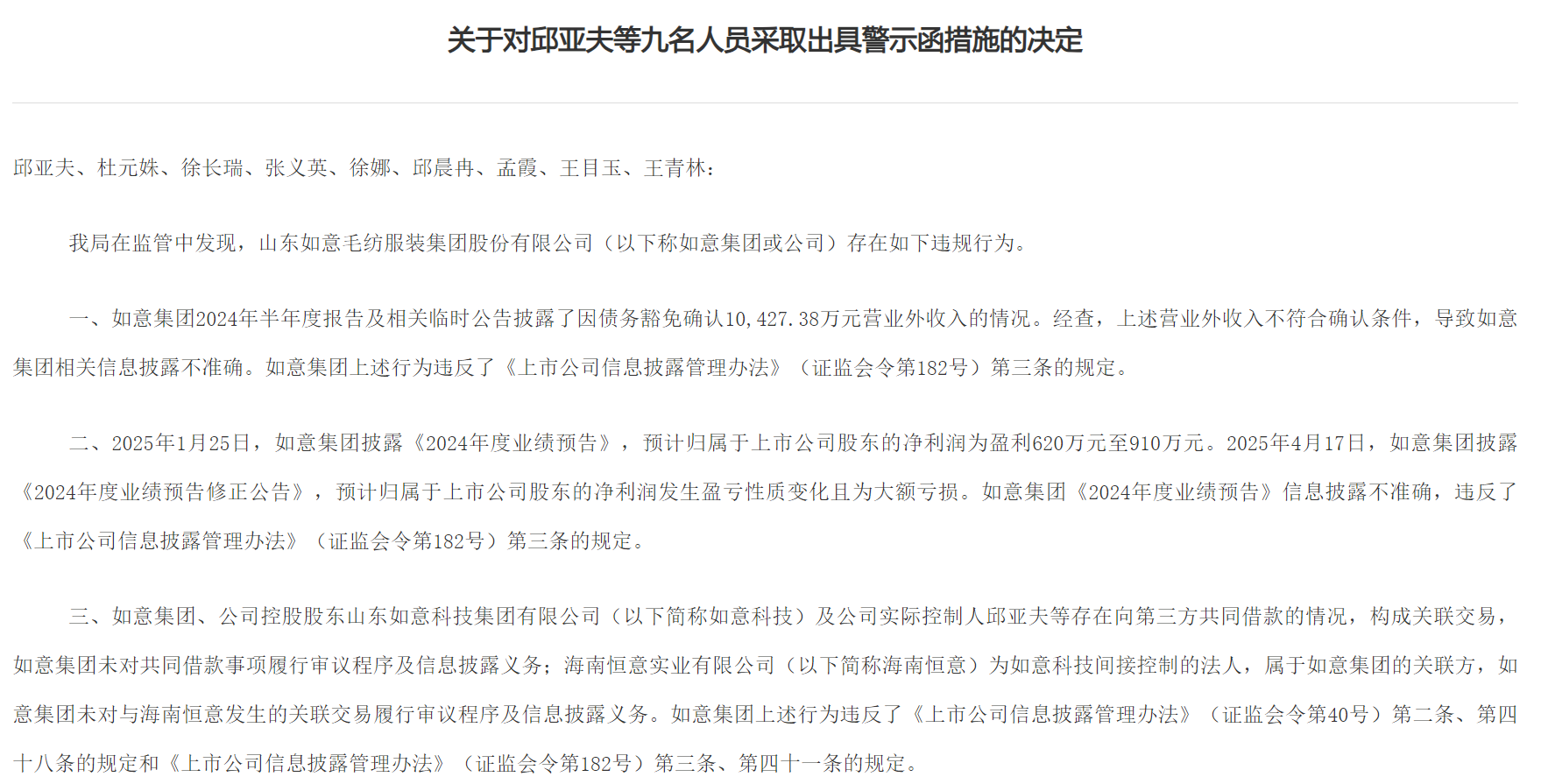
梳理过往公告发现,在2025年4月30日,如意集团及相关当事人收到中国证监会山东监管局出具的行政监管措施决定书。决定书指出公司存在三项违规事实:2024年半年度报告信息披露不准确、《2024年度业绩预告》信息披露不准确,以及关联交易未履行审议程序及信息披露义务。

回顾2024年,该公司及相关责任人当年因多项违规行为受到证券交易所的纪律处分,包括长期股权投资减值计提不充分、未按规定审议和披露关联交易、业绩预告披露不准确、控股股东非经营性资金占用等问题。
处分措施从公开谴责、通报批评直至被公开认定不适合担任上市公司董事、监事和高级管理人员。其中,公司实际控制人邱亚夫被公开认定10年内不适合担任上市公司董事、监事及高级管理人员。
山东证监局此前在公告还披露了其具体的信披问题。山东证监局指出,如意集团在2024年半年报中错误确认了1.04亿元营业外收入,该收入不符合会计确认条件,导致信息披露不准确;在2025年1月发布业绩预告后,又于4月修正,净利润由预盈转为大额亏损,信息披露前后矛盾。
值得关注的是,审计机构对如意集团的财务报告也提出了质疑。
中喜会计师事务所(特殊普通合伙)在2024年年度审计报告中,就一笔价值约3亿元的长期股权投资事项出具了保留意见。该事项涉及公司2021年底通过资产置换取得的对莱卡新材料(佛山)有限公司25.72%的股权,由于对方股东未履行出资义务,导致被投资企业无法正常经营。
上述处分和质疑进一步印证了公司在投资决策和信息披露方面存在的问题。


业绩持续滑坡,质押冻结叠加
一边是信息披露违规,一边是如意集团的经营状况也持续恶化。
如意集团已连续多年亏损。2025年半年度报告显示,公司上半年实现营业收入1.54亿元,同比下降32.25%;归属于上市公司股东的净利润为-9572.57万元,亏损额同比扩大105.00%。
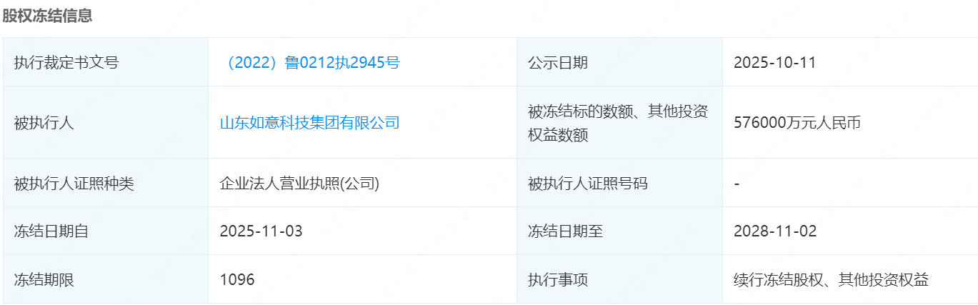
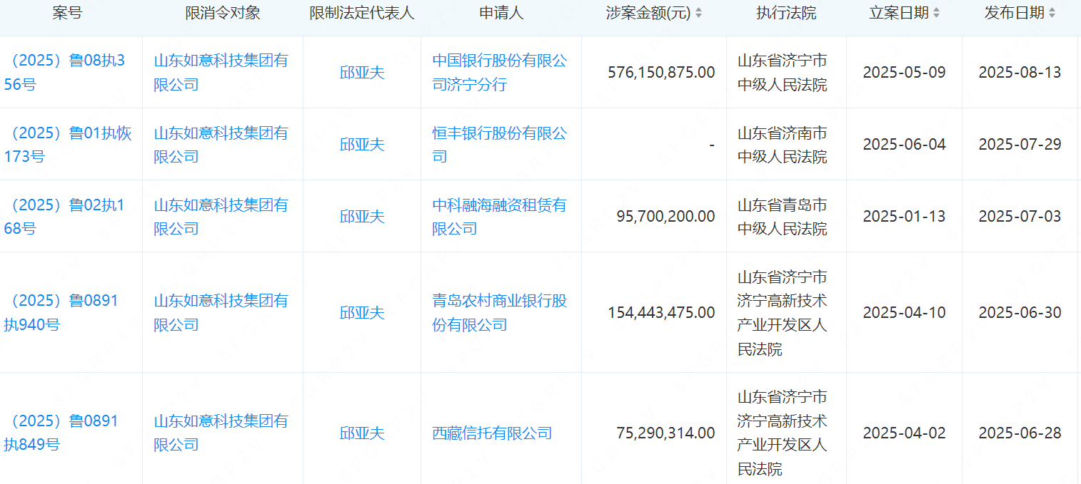
来自控股股东的风险也不容忽视。中登公司数据显示,截至2025年4月25日,如意集团19.41%的股份处于质押状态。其中,第一大股东山东如意科技集团有限公司质押了全部持股(3051.47万股),第二大股东山东如意毛纺集团有限责任公司也质押了全部持股(2028万股)。
这些被质押的股份还因合同纠纷被司法冻结和轮候冻结。

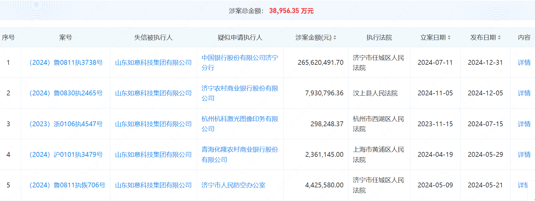
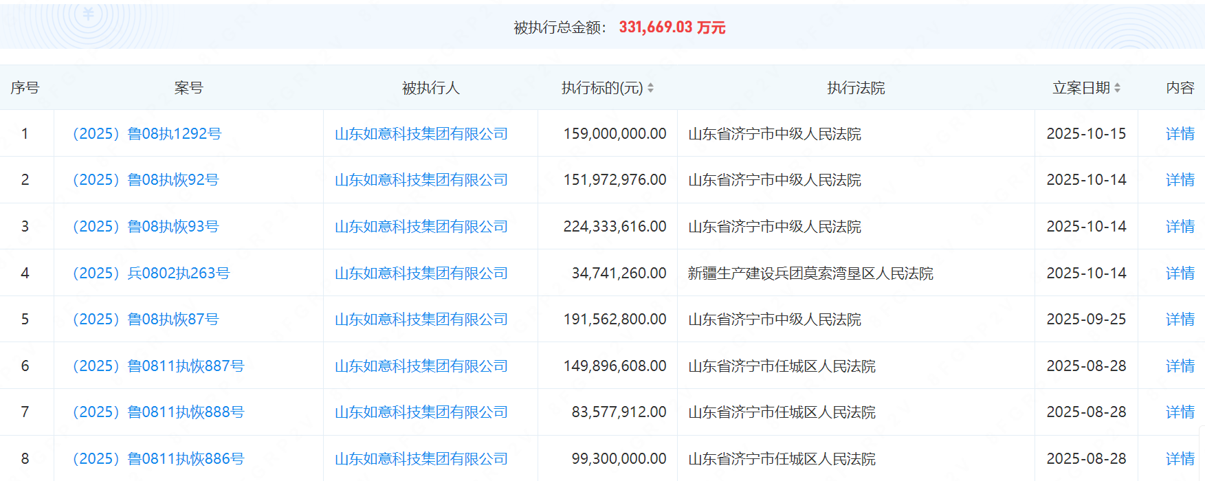
法律风险信息进一步印证了这一判断。据天眼查显示,如意集团在2025年有多起开庭公告,案由多为买卖合同纠纷。而公司控股股东及实际控制人更已被列为失信被执行人和被限制高消费。




山东如意科技集团有限公司成立于2001年12月,法定代表人为邱亚夫,注册资本为405406万元,所属行业为纺织业,经营范围包含:纺织品、服装和服饰的设计、生产、销售;棉、化纤纺织及印染精加工生产及销售等。企业当前经营状态为在业。

(图片来源:山东如意科技集团有限公司官网)
(凤凰网山东综合山东证监局、企查查等整理)